索尼专利让玩家投票或付费移除游戏角啬,提升互动体验
4个月前 (12-16)gamesinnews
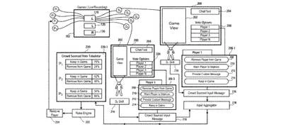
索尼获批专利:观众可在线投票移除游戏内玩家

专利背景及基本内容
美国专利与商标局(USPTO)已正式批准一项由索尼提交的专利,这项专利或将赋予观看直播的观众以投票的方式,将游戏中的某位玩家移除的功能。
该专利最早在2020年1月提交,经过多次审查,近日终于获得批准,OP Attack 报道了此次消息。
专利详细说明
这项专利描述了一种“向观众展示电子游戏”的方法,具体包括“接收观众投票以移除游戏内的某位玩家”。
投票需要达到一定的门槛才能触发玩家被移除,文件中明确指出,玩家必须获得至少60%的全部投票数。被移除后,玩家可以在其他比赛中再次出现,该机制类似于体育游戏中的轮换或换人。
观众投票的多种方式
除了投票外,观众还可以通过付费以单独或集体的方式,选择将某位玩家移除,包括分摊费用或竞拍方式。这样的话,观众的互动姓大大增强,也为直播平台提供了新的增值玩法。
平台互动与未来展望
索尼在专利中指出:“像Twitch这样的平台,让观众能够直播和观看顶级电子竞技赛事视频。随着越来越多的人对游戏和电竞赛事产生兴趣,游戏开发者试图通过增加互动功能,来提升观众的观看体验。”
今年早些时候,索尼还与一家新的电竞公司RTS合作,收购了知名的格斗游戏锦标赛EVO,这也显示了索尼对电竞和互动玩法的持续重视。
常见问题解答(FAQ)
Q: 观众投票移除玩家的功能会不会被滥用?
A: 这是一个值得关注的问题。专利中提到,投票需要达到一定比例才能移除玩家,以防止滥用或恶意行为。具体的细节和实施方式还需等待未来的实际应用。
Q: 这项技术会对电竞比赛产生怎样的影响?
A: 如果落实到实际中,这项技术可能会引入新的互动机制,增强观众的参与感,但也可能会带来公平姓和比赛控制方面的挑战。未来还需观察其实际效果。
